

北京地处中国北部、华北平原北部,东与天津毗连,其余均与河北相邻,中心位置东经116°20′、北纬39°56′,是世界著名古都和现代化国际城市,也是中国共产党中央委员会、中华人民共和国中央人民政府和全国人民代表大会常务委员会的办公所在地。

防水套管的标准 02S404是我国定编的防水套管新标准,套管的长短依据墙面的薄厚而定。防水套管:防水套管是管道越过铁路、大马路、街道社区等处,为避免管道受载荷被压烂,而在管道外界设定的防御性套管。防水套管分成刚度防水套管和柔性防水套管。刚度防水套管是无缝钢管另加翼环;柔性防水套管除开外界翼环,內部也有档圈这类的。柔性防水套管是适用管道越过墙面的地方受有震动或有严实防潮规定的建筑物的五金管材,一般制造业企业是依据工程建筑科学院研发设计方案的S312、02S404建筑图集生产制造的。柔性防水套管过墙处之墙面,如遇非混凝土时要改成混凝土墙面,务必将套管一次凝结于墙里;柔性防水套管施普遍用以工程建筑、化工厂、钢材、饮用水、废水处理等企业。
02S404国家标准防水套管的安装方式 及常见问题,在施工现场是要严苛依照的,大家解读一下防水套管的安装方式 及必须留意的。
安装时与土建施工一起工程施工——在管道穿异形柱,剪应力基本墙及穿梁的混凝土墙时,安装时要随土建施工一起安装。由于预埋孔眼后,国家标准防水套管与预埋孔眼中间的二次浇筑不太好解决;有的没法解决,如别墅地下室基本混凝土框架柱上安装刚度防水套管这一就没办法解决或是解决出来的不便水平挺大。
在管道铺装前安装——在管道穿混凝土混凝土楼板时,要事前留好预埋孔眼,预埋孔眼规格前几章大家讲过。在穿墙体处能够 中后期开掘一个砖孔眼。混凝土楼板处,在安管道以前,掉通线、安装套管。墙体上,划线,栽设支撑架,找好倾斜度,安装套管。 防水套管在应用安装强要查验好,考察期外型是不是有显著缺点。次之,查验全部管材有没有缝隙、有没有沙孔、壁厚是不是薄厚匀称。再度查验电焊焊接口是不是电焊焊接坚固 最终,防水套管安装时的管道倾斜度应匀称,不可有倒坡,防水套管的管道安装应按工程施工施工验收规范设定抗震支架。
5 常见问题 编写本段防水套管安装留意:当迎水的一面为浸蚀物质时,能用橡胶密封件将间隙堵漏,入股票市场非混凝土墙壁应部分改成混凝土,浇筑范畴规格应该是比翼环直徑(标准图集标明D5尺寸)大200,套管应一次性混凝土浇筑与墙里。过墙管的混凝土薄厚不应该低于300,低于得话两侧应当加厚型。加厚型一部分的直徑至少规格为D5 200。套管的重量计算以L=300,如墙厚超过300时,应再行测算。
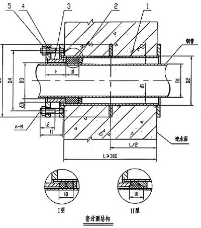
02S404柔性防水套管说明:
1、本图尺寸均以毫米来计。
2、柔性防水套管一般穿过墙壁之处受有振动或有严密防水要求的构筑物。
3、套管部分加工完成后,在其外壁均刷底漆一遍(底漆包括樟丹或冷底子油)。外层防腐由设计决定。
4、套管穿墙之墙壁,如遇非混凝土墙壁时应改用混凝土墙壁,其浇注混凝土范围应比翼环直径( D6 )大 200mm ,而且将套管浇固与墙内。
5、穿管处之混凝土墙厚应不小于 300mm 否则应使墙壁一边加厚或两边加厚。加厚部分的直径小应比翼环直径( D6 ) 200mm
6、套管的材料重量是按墙厚 L 值为 300mm 应另行计算。
7、套管部件材料,用 A3 材料制作, T42 。
I型柔性防水套管说明:
1、当迎水面为腐蚀性介质时,可采用封堵材料将缝隙封堵。
2、套管穿墙处如遇非混凝土墙壁时,应局部改用混凝土墙壁,其浇注范围应比翼环直径(D5)大200,而且将套管一次浇固于墙内。
3、穿管处混凝土墙厚应不小于300,否则应使墙壁一边加厚或两边加厚,加厚部分的直径至少为D5+200。
4、套管的重量以L=300计算,如墙厚大于300时,应另行计算。
II型柔性防水套管说明:
1、柔性填料材料:沥青麻丝、聚苯乙烯板、聚乙烯泡沫塑料板。
2、密封膏:聚硫密封膏、聚胺脂密封膏。
3、套管穿墙处如遇非混凝土墙壁时,应局部改用混凝土墙壁,其浇注范围应比翼环直径(D5)大200,而且将套管一次浇固于墙内。
4、穿管处混凝土墙厚应不小于300,否则应使墙壁一边加厚或两边加厚,加厚部分的直径至少为D5+200。
5、套管的重量以L=300计算,如墙厚大于300时,应另行计算。
刚性防水套管适用于管道穿墙处不承受管道振动和伸缩变形的构(建)筑物,适用于管道穿墙处空间有限或管道安装先于构(建)筑物或管道的更新改造。对于有地震设防要求的地区,如采用刚性防水套管,应在进入池壁或建筑物外墙的管道上就近设置柔性连接。A型适用于钢管,B,C型适用于球墨铸铁钢管及铸铁管。
刚性防水套管在用于与腐蚀性介质接触时,设计人应根据介质性及防腐要求,另行选择使用的耐腐蚀材料。金属表面涂覆前应进行除锈,手工除锈质量应达到GB8923-88标准中的st3级,喷射除锈质量应达到Sa2 1/2 级。
刚性防水套管使用范围:
刚性防水套管适用于管道穿墙处不承受管道振动和伸缩变形的构(建)筑物,对于设防要求的地区,如采用刚性防水套管,应在进入池壁或建筑物外墙的管道上就近设置柔性连接,A型适用于钢管。
再次感谢广大客户朋友对拼搏在线网页版产品的大力支持。在此,我协拼搏在线网页版全体员工感谢您的光临!如有意者,请拨打我们的热线电话:【0371-64026667 】联系人:【 张经理 】 手机:【 18530918277 】我们将竭诚为您服务!
拼搏在线网页版自创厂以来,不断的在技术和应用上取得新的创新和突破。天翔管道以管理、服务主动的态度在众多合作伙伴中建立起了良好的信誉,兼容并蓄,不断向管道应用行业深入发展。经营范围:橡胶接头,防水套管,补偿器,膨胀节,波纹补偿器,旋转补偿器,无推力补偿器,套筒补偿器,伸缩器,传力接头,伸缩接头,无约束补偿器,法兰盘,人孔,弯头,三通,闸阀,蝶阀,鸭嘴阀,等系列产品。
技术参数:
02S404柔性防水套管主要尺寸、重量表
| DN | D1 | D2 | D3 | D4 | D5 | I | 10 | I1 | I2 | D1 | D2 | D3 | n-M | A型重量(kg) | B型重量(kg) | |||
| I型 | Ⅱ型 | I型 | Ⅱ型 | I型 | Ⅱ型 | |||||||||||||
| 50 | 60 | 95 | 65 | 145 | 200 | 65 | 28 | - | 72 | 30 | 3.5 | 4 | 8 | 4-M12 | 14.40 | - | 14.60 | - |
| 65 | 76 | 114 | 80 | 165 | 220 | 65 | 28 | 25 | 72 | 30 | 3.75 | 4 | 8 | 4-M12 | 16.89 | 17.07 | 17.18 | 17.35 |
| 80 | 89 | 127 | 95 | 180 | 235 | 65 | 28 | 25 | 76 | 38 | 4 | 4 | 10 | 4-M16 | 21.12 | 21.31 | 21.42 | 21.61 |
| 100 | 108 | 146 | 114 | 200 | 255 | 65 | 28 | 25 | 76 | 38 | 4 | 4.5 | 10 | 4-M16 | 24.37 | 24.58 | 24.71 | 24.92 |
| 125 | 133 | 180 | 140 | 235 | 290 | 65 | 28 | 25 | 76 | 38 | 4 | 6 | 10 | 6-M16 | 31.92 | 32.31 | 32.43 | 32.82 |
| 150 | 159 | 203 | 165 | 260 | 315 | 65 | 28 | 25 | 76 | 38 | 4.5 | 6 | 10 | 6-M16 | 35.77 | 36.17 | 36.31 | 36.72 |
| 200 | 219 | 265 | 226 | 320 | 375 | 65 | 28 | 25 | 76 | 38 | 6 | 6 | 10 | 6-M16 | 44.69 | 45.29 | 45.29 | 45.87 |
| 250 | 273 | 325 | 280 | 380 | 435 | 65 | 28 | 25 | 76 | 38 | 8 | 8 | 10 | 8-M16 | 59.41 | 60.22 | 60.43 | 61.33 |
| 300 | 325 | 377 | 333 | 435 | 495 | 72 | 28 | 30 | 90 | 46 | 8 | 10 | 10 | 8-M20 | 89.37 | 90.02 | 90.35 | 91.14 |
| 350 | 377 | 426 | 385 | 485 | 545 | 72 | 32 | 30 | 90 | 46 | 10 | 10 | 10 | 8-M20 | 99.74 | 100.3 | 100.7 | 101.5 |
| 400 | 426 | 480 | 435 | 540 | 600 | 72 | 32 | 30 | 90 | 46 | 1O | 10 | 10 | 12-M20 | 114.0 | 114.8 | 115.3 | 116.4 |
| 450 | 480 | 530 | 488 | 590 | 650 | 72 | 32 | 30 | 90 | 46 | 10 | 1O | 10 | 12-M20 | 124.1 | 124.7 | - | - |
| 500 | 530 | 585 | 538 | 645 | 705 | 72 | 32 | 30 | 90 | 46 | 10 | 10 | 10 | 16-M20 | 139.3 | 140.5 | - | - |
| 600 | 630 | 690 | 640 | 755 | 820 | 75 | 32 | 30 | 104 | 54 | 10 | 10 | 12 | 16-M24 | 197.2 | 198.2 | - | - |
| 700 | 720 | 780 | 730 | 845 | 910 | 75 | 40 | 30 | 104 | 54 | 10 | 1O | 12 | 20-M24 | 222.6 | 223.7 | - | - |
| 800 | 820 | 880 | 830 | 950 | 1020 | 80 | 40 | 40 | 117 | 60 | 10 | 10 | 12 | 20-M27 | 280.0 | 282.3 | - | - |
| 900 | 920 | 980 | 930 | 1050 | 1120 | 80 | 40 | 40 | 117 | 60 | 10 | 10 | 12 | 20-M27 | 309.6 | 312.2 | - | - |
| 1000 | 1020 | 1080 | 1030 | 1150 | 1220 | 80 | 40 | 40 | 117 | 60 | 10 | 10 | 12 | 24-M27 | 341.1 | 344.0 | - | - |
注:订货时注明管子外径,大于DN1400、墙厚大于或小于300mm的产品可订制加工。
刚性防水套管(A型)尺寸表、重量表
| DN | D1 | D2 | D3 | D4 | δ | B | k |
重量 (kg) |
| 50 | 60 | 80 | 114 | 225 | 3.5 | 10 | 4 | 4.49 |
| 65 | 75.5 | 95 | 121 | 230 | 3.75 | 10 | 4 | 4.66 |
| 80 | 89 | 110 | 140 | 250 | 4 | 10 | 4 | 5.33 |
| 100 | 108 | 130 | 159 | 270 | 4.5 | 10 | 5 | 6.36 |
| 125 | 133 | 155 | 180 | 290 | 6 | 10 | 6 | 8.33 |
| 150 | 159 | 180 | 219 | 330 | 6 | 10 | 6 | 1O.06 |
| 200 | 219 | 240 | 273 | 385 | 8 | 12 | 8 | 15.9 |
| 250 | 273 | 295 | 325 | 435 | 8 | 12 | 8 | 18.68 |
| 300 | 325 | 345 | 377 | 500 | 10 | 14 | 10 | 27.40 |
| 350 | 377 | 400 | 426 | 550 | 10 | 14 | 10 | 30.95 |
| 400 | 426 | 445 | 480 | 600 | 10 | 14 | 10 | 34.35 |
| 450 | 480 | 500 | 530 | 650 | 1O | 14 | 10 | 37.85 |
| 500 | 530 | 550 | 590 | 730 | 10 | 16 | 10 | 44.54 |
| 600 | 630 | 660 | 690 | 830 | 10 | 16 | 10 | 54.50 |
| 700 | 720 | 750 | 790 | 920 | 10 | 16 | 10 | 61.43 |
| 800 | 820 | 850 | 880 | 1020 | 10 | 16 | 10 | 69.12 |
| 900 | 920 | 950 | 980 | 1120 | 10 | 16 | 10 | 76.81 |
| 1000 | 1020 | 1050 | 1080 | 1230 | 10 | 16 | 10 | 84.50 |
| 1200 | 1220 | 1250 | 1290 | 1430 | 12 | 20 | 12 | 122.5 |
| 1400 | 1420 | 1450 | 1490 | 1630 | 12 | 20 | 12 | 141.3 |
| 1600 | 1620 | 1650 | 1690 | 1830 | 14 | 20 | 14 | 176.4 |
| 1800 | 1820 | 1850 | 1900 | 2040 | 16 | 20 | 16 | 216.6 |
| 2000 | 2020 | 2050 | 2100 | 2240 | 16 | 20 | 16 | 239.3 |
当穿墙管的材质和外径等超出本图集范围,应注意对防水套管的结构形式、尺寸及缝隙内采用的填料等进行必要的调整和修正。
